Home > Products > Indicator Post > AIP
AIP Vertical Post

Vertical Type, Adjustable
Approvals : UL, ULC, FM
Corrosion Protection : Internal & External Epoxy Coated (RAL 3000)
Weight(lbs) : 211.6
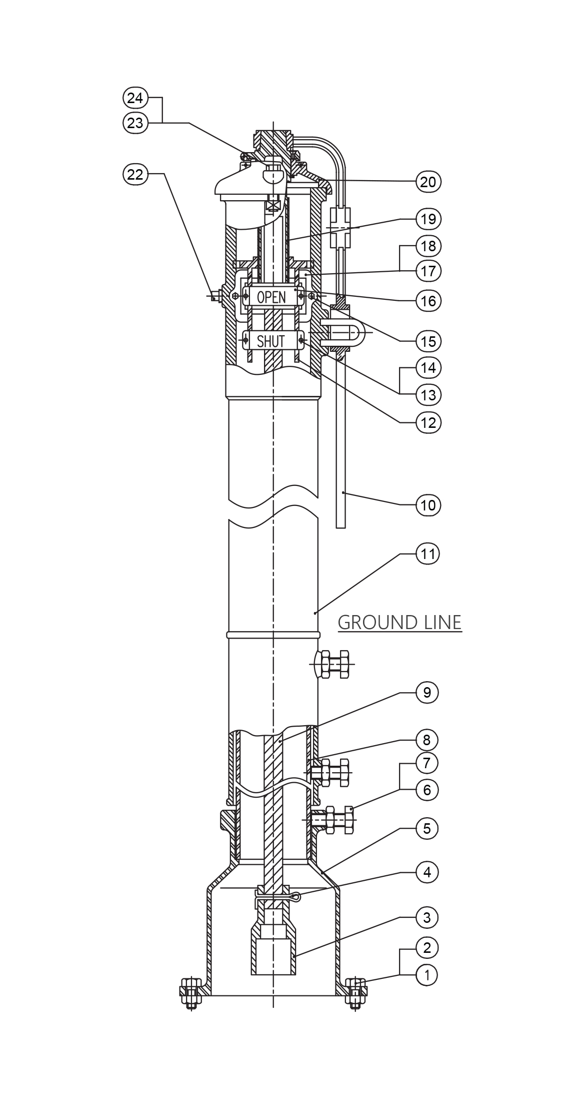
MATERIAL SPECIFICATION
| No. | Components | Material | Specification |
|---|---|---|---|
| 1 | Hex Cap Screw | Carbon Steel | ASTM A307B |
| 2 | Hex Nut | Carbon Steel | ASTM A307B |
| 3 | Crane Coupling | Ductile Iron | ASTM A536 Gr.65-45-12 |
| 4 | Cotter Pin | Stainless Steel | ANSI 304 |
| 5 | Base Flange | Cast Iron | ASTM A126 ClassB |
| 6 | Hex Nut | Carbon Steel | ASTM A307B |
| 7 | Hex Cap Screw | Carbon Steel | ASTM A307B |
| 8 | Standpipe | Carbon Steel | ASTM A536 Gr.65-45-12 |
| 9 | Stem 1″ Square | Carbon Steel | AISI 1045 |
| 10 | Body | Cast Iron | ASTM A126ClassB |
| 11 | Locking Wrench | Ductile Iron | ASTM A53 6Gr.65-45-12 |
| 12 | Target Carrier Nut | Bronze / Stainless Steel | ASTM B62C83600 / ANSI 304 |
| 13 | Hex Cap Screw | Carbon Steel | ASTM A307B |
| 14 | Hex Nut | Carbon Steel | ASTM A307B |
| 15 | Hex Cap Screw | Carbon Steel | ASTM A307B |
| 16 | Target | Cast Aluminium | Cast Aluminium |
| 17 | Window Glass | Plexiglass | Plexiglass |
| 18 | Gasket | PTFE | PTFE |
| 19 | Operating Nut | Bronze / Stainless Steel | ASTM B62C83600 / ANSI 304 |
| 20 | Top Section | Cast Iron | ASTM A126ClassB |
| 21 | Snap Ring | Stainless Steel | AISI 1066 |
| 22 | Plug | Malleable Iron | Malleable Iron |
| 23 | Square Nut | Carbon Steel | ASTM A307B |
| 24 | HexCap Screw | Carbon Steel | ASTM A307B |








